Bengkeltv.id – Mengenal Lebih Dalam tentang Skema Blok Diagram TV LED Beserta Fungsinya. Terkadang kita duduk di depan televisi, menikmati tayangan favorit atau berita terkini tanpa berpikir bagaimana teknologi di belakang layar bekerja.
Namun, bagi mereka yang penasaran atau tertarik dalam dunia teknologi dan elektronik, mengerti tentang komponen dan fungsi masing-masing bagian dari TV LED bisa menjadi suatu kepuasan tersendiri. Salah satu cara untuk memahami bagaimana televisi LED berfungsi adalah dengan memahami skema blok diagram TV LED.
Dalam artikel ini, kita akan membahas lebih dalam tentang skema blok diagram TV LED, membongkar misteri di balik gambaran elektronik dan memungkinkan kita mengintip ke dalam ‘otak’ dari sebuah televisi. Selamat menyelami dunia elektronik TV LED.
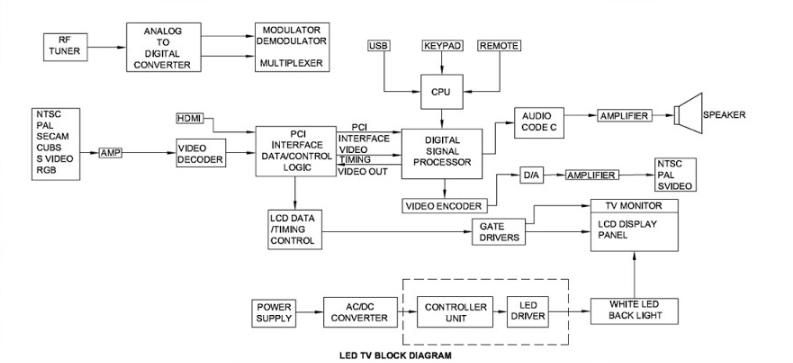
Blok Diagram TV LED dan Fungsinya
Pada TV LED, terdapat komponen-komponen atau blok-blok yang saling terhubung dalam rangkaian untuk menghasilkan gambar dan suara ketika dinyalakan. Setiap blok komponen tersebut memiliki fungsi yang berbeda, sehingga jika salah satu komponen tidak berfungsi, TV LED tidak dapat menyala dengan normal. Berikut ini adalah beberapa contoh blok diagram yang terdapat dalam TV LED tersebut:
1. Blok Control Panel
Blok panel kontrol terdiri dari panel sensor untuk remote dan panel kontrol pengaturan manual. Panel kontrol ini merupakan bagian penting dari blok TV LED karena berfungsi untuk mengatur program TV LED. Misalnya, mengatur volume, mengganti saluran, dan pengaturan menu lainnya.
2. Blok Mainboard
Blok mainboard dalam skema blok TV LED terhubung dengan blok mixer, blok tuner, blok panel kontrol, dan speaker beban. Mainboard pada TV LED memiliki fungsi untuk menerima perintah pengaturan suara, gambar, program input, dan perintah lainnya yang dikirim dari panel kontrol melalui remote.
Power amplifier umumnya terintegrasi dengan blok mainboard dalam diagram TV LED dan berfungsi untuk memproses sinyal audio. Sinyal audio dari blok mainboard kemudian diteruskan ke speaker beban. Sementara itu, keluaran video RF dari blok tuner akan diproses di blok mainboard sehingga menjadi sinyal video yang langsung diteruskan ke blok mixer untuk proses pemindaian.
Memahami bagian-bagian blok mainboard menjadi penting bagi teknisi elektronik karena komponen-komponen di mainboard termasuk yang sering mengalami kerusakan pada TV LED. Oleh karena itu, kerusakan pada blok mainboard dapat berdampak fatal, mengganggu suara, gambar, dan program input. Gangguan-gangguan ini dapat menyebar ke fungsi-fungsi lainnya.
3. Blok Diagram Mixer TV LED
Blok Mixer memiliki peran krusial dalam diagram blok TV LED, dengan fungsi utamanya untuk melakukan proses pemindaian atau pengolahan gambar. Sinyal gambar yang dikirim oleh blok mainboard akan sampai ke blok mixer dan kemudian dipindai menjadi dua bagian, yaitu gambar sebelah kanan dan kiri.
Untuk menguji kinerja TV LED, salah satu kabel soket biasanya dilepas sehingga hanya setengah gambar yang muncul. Sementara bagian lainnya hanya menampilkan raster putih. Jika kedua kabel output mixer dilepas, maka sinyal video tidak akan muncul, dan hanya akan terlihat raster putih di seluruh layar TV LED.
4. Blok Inverter
Blok inverter merupakan bagian penting dalam diagram blok TV LED, dengan fungsi utamanya untuk menghasilkan tegangan tinggi yang akan digunakan oleh lampu di panel LED. Komponen inverter ini akan mengubah tegangan asli dari arus DC menjadi tegangan tinggi AC yang kemudian akan menghidupkan lampu tersebut.
Komponen-komponen dalam blok inverter termasuk di antara komponen TV LED yang sering mengalami kerusakan. Kerusakan umumnya terjadi ketika arus tegangan ke lampu terputus, sehingga layar TV LED hanya menampilkan warna gelap. Namun, suara tetap terdengar karena audio diproses oleh blok yang berbeda, yaitu blok tuner.
Contoh Blok TV LED
Berikut ini adalah contoh Blok Diagram TV LED Panasonic:
Blok Mixer memegang peran penting dalam diagram blok TV LED dan fungsinya adalah untuk melakukan proses scanning atau pengolahan gambar. Sinyal gambar dikirim oleh blok mainboard dan saat mencapai blok mixer, sinyal tersebut akan dipindai menjadi dua bagian, yaitu gambar sebelah kanan dan kiri.
Untuk menguji cara kerja TV LED, biasanya salah satu kabel soket dilepas sehingga hanya setengah gambar yang ditampilkan. Sementara itu, sebagian lainnya hanya tampak sebagai raster putih. Jika kedua kabel output mixer dilepas, maka sinyal video tidak akan muncul sehingga seluruh layar TV LED hanya akan menampilkan raster putih.
Bagian-bagian TV LED
Meski tampaknya ada banyak kesamaan antara komponen-komponen blok dalam TV LED dan TV LCD, perlu ditekankan bahwa sejumlah bagian, meski serupa, memiliki mekanisme kerja dan komponen yang berbeda.
Umumnya, inilah beberapa bagian blok yang ditemukan pada TV LED dari beragam merk:
- Blok Power Supply Switching
- Blok Mainboard
- Blok Driver LED Backlight
- Blok Panel Kontrol
- Blok IR
- Blok Panel LED
- Blok T-CON
- Blok Audio
Dalam beberapa model dan merk TV LED, beberapa bagian blok seringkali digabung menjadi satu, contohnya power supply switching, mainboard, driver backlight atau inverter, dan T-CON atau Timing Control.
Fungsi Tiap Bagian TV LED
Walau fungsi tiap blok pada TV LED memiliki banyak kesamaan dengan fungsi blok pada TV LCD, berikut adalah penjelasan mengenai fungsi tiap bagian:
1. Bagian Blok Power Supply Switching
Peran blok power supply switching di TV LED adalah untuk menyuplai aliran dan tegangan listrik yang diperlukan oleh semua bagian dalam TV LED. Tegangan listrik DC yang dihasilkannya biasanya berada dalam rentang 3,5 volt sampai 200 volt.
Tegangan rendah sekitar 3,5 volt biasanya dipakai untuk catu daya power standby di blok mainboard, meski ada juga yang menggunakan tegangan 5 volt.
2. Bagian blok Mainboard
Mainboard adalah komponen vital dalam sistem TV LED. Hampir semua bagian lain dalam TV LED diatur atau dikontrol oleh bagian ini.
Di dalam blok mainboard, ada program kecil atau firmware yang berfungsi sebagai sistem kontrol atau operasi TV LED.
3. Bagian Driver backlight
Blok driver atau inverter backlight pada TV LED bertugas untuk menyuplai arus dan tegangan listrik yang diperlukan oleh lampu backlight atau cahaya belakang di TV LED.
4. Bagian blok panel kontrol
Panel kontrol atau tombol kontrol pada TV LED berfungsi untuk mengendalikan TV secara manual atau dengan menyentuh bagian fisiknya secara langsung. Tombol pada panel kontrol biasanya digunakan untuk mengatur menu, menambah atau mengurangi channel, menambah atau mengurangi volume. Walaupun demikian, ada pula panel kontrol dengan banyak tombol atau hanya satu tombol saja.
5. Bagian blok IR
Blok IR (infra red) di TV LED adalah komponen yang paling sederhana, biasanya hanya berisi IR receiver.
6. Bagian blok panel LCD
Panel LED pada TV LED adalah bagian yang berfungsi untuk menampilkan gambar. Bedanya dengan panel LCD pada TV LCD adalah pada bagian backlight atau cahaya belakang.
7. Bagian blok T-CON
Blok Timing Control atau yang lebih dikenal dengan T-CON pada TV LED berperan sebagai pengendali waktu kapan pixel-pixel pada layar LCD harus menyala dan kapan harus dimatikan.
8. Bagian blok Audio
Blok audio pada TV LED berperan dalam memproses sinyal audio atau suara agar bisa kita dengar.
Penutup
Pemahaman yang mendalam tentang skema blok diagram TV LED dapat membantu kita lebih menghargai keajaiban teknologi yang kita gunakan setiap hari. Setiap bagian, meski tampak rumit, memiliki peran penting dalam menjaga TV LED kita bekerja dengan sempurna. Semoga penjelasan di atas tentang skema blok diagram TV LED dan fungsi tiap bagiannya dapat memberikan pengetahuan yang berharga bagi Anda.
Dengan memahami bagaimana TV LED bekerja, kita juga dapat menjadi lebih waspada dalam merawat dan menggunakan perangkat ini dengan bijaksana. Ingatlah, di balik tampilan gambar dan suara yang sempurna, ada skema blok diagram TV LED yang sangat canggih bekerja dengan luar biasa. Demikian ulasan dari bengkeltv.id mengenai Skema Blok Diagram TV LED. Semoga bermanfaat untuk Kalian.



